来源: 发布时间:2018-01-03 15:41:32 浏览:
鼠夹与鼠笼是室内主要灭鼠工具,特别是城镇居民采用这种方法比较方便。鼠笼有多种型号,有关门式鼠笼、踏板式鼠笼、到须式鼠笼和活门连续捕鼠箱等,其需用诱饵,可用来捕捉活鼠。鼠笼通常用铁丝编成,用来捕捉小型鼠(如小家鼠)的鼠笼,网眼直径要超过3分,否则容易钻出。在使用时,应注意家鼠的特性和室内特点,采取相应措施,另外,放鼠笼,笼口应朝向鼠洞或正对鼠路。
(1)鼠笼捕鼠法
鼠笼规格:长23厘米、宽13厘米、高11厘米;网眼直径不宜大于1厘米。
饵料:用家鼠爱吃的。
放置地方:老鼠经常活动的地方。

(2)须笼禁鼠法
鼠笼规格:边框和提环用8号铁丝,网用18号铁丝编织。笼高25厘米,边框直径20厘米。
使用:笼内放置诱饵,害鼠一旦时入笼内盗吃诱饵,笼入口处装有铁丝倒须刺,鼠就不能爬出。揭开笼上面的盖子,即可将害鼠取出。
放置地方:在安放鼠笼时,最好将进笼口向着鼠洞,不宜离鼠洞太近,更不能堵住鼠洞。

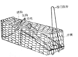
(3)自动笼关鼠法
鼠笼规格:用铁丝编织,边框选用10号铁丝,网用18号铁丝,制作规格是长50厘米、宽20厘米、高20厘米,网眼1x1厘米。
使用:一手先提起横档,另一手把撑门压杆用力向后按,打开笼门。将食饵挂在笼门的饵钩上,把撑门压杆扣在笼外的压钩上。害鼠进笼后,一碰食饵,因压钩移动,松开撑门压杆,弹簧收缩使笼门紧闭,横档随即落下,即将害鼠关在笼中。

(4)木板笼擒鼠法
规格:长35-40厘米、宽15-20厘米、高15厘米。
制作和使用:一头装门,门下设门槛,门用铁轴安在笼上,能上下开闭;另一头装铁丝网。笼内放一踏板,踏板上侧钉一个支板,顶端支住门扇,踏板底下支一根三角棍,使踏板后部翘起,诱饵放在踏板后部,当害鼠来吃食时,踏板后部被压下,支板与门扇脱离,笼门自动关闭,害鼠即被关在笼中。

(5)闸板笼关鼠法
特点:门能上下抽动。
鼠笼规格:高20厘米、宽24厘米、长42厘米。将鼠笼前门做成上下滑动的闸板式,闸门高18厘米。
使用:使用时,用一根细木棍穿入提梁下小铁环中,木棍的一头和闸板连在一起,另一头栓细绳,细绳另头栓铁环。鼠笼箱后留有一小孔,从孔中插进一根竹筷子,一头插上诱饵,另一头微别住铁环。当鼠偷吃食时,竹筷和铁环脱离,闸门失去控制自动落下,将鼠关在笼内。

另外可以在捕鼠笼上安装拉簧、铰链、挂钩、诱饵盒、连杆、开关、电源模块、压力传感器、A/D转换器、单片机控制模块和报警器等部件,通过采用压力传感器进行老鼠,老鼠被捕后,报警器可及时提醒使用者对鼠笼进行清理,使用更加方便,价格低廉,适合推广。

