来源: 发布时间:2018-01-23 15:40:51 浏览:
中华鼢鼠(Myospalax fontanieri)是我国北方黄土高原旱作区鼠类的优势种。它密度大,数量多,分布广泛,对农林牧业生产造成的为害十分严重。据调研,目前对中华鼢鼠的防治手段主要采用石压法和毒饵法,前者灵敏度差,费工费力;后者取食率低,两者灭鼠效均果较差。个别地区还用雷管炸灭法,其安全系数较低,安放时对洞道破坏较重,易引起鼠警惕而躲避。
因此,目前还没有大面积控制鼢鼠为害的有效的方法。通过对中华鼢鼠的生活习性及防治技术进行系统调查研究,从主体结构、使用原料、加工成本、操作技术等方面作了反复分析研究,筛选出皮筋拉力型、单簧拉力型、双簧拉力型、主架改进型,依次排为第1,2,3,4代捕鼠器。由室内到室外反复进行了模拟试验,作直观分析研究,判断灵敏度,确定合理的架型结构,并通过反复捕鼠试验,从灭鼠效果分析研究,认定主架改进型捕鼠器为定型产品,定名为3BH-10型捕鼠器。

1 材料和方法
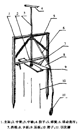
供试材料选用1.5mm方型空心铁管、直径10cm圆钢、直径6.5cm圆钢、直径14cm圆钢、4mm×37mm板钢、12mm×100mm拉簧及顶簧、挑簧等。3BH-10型捕鼠器如图1所示。灭鼠效果调查采用开洞堵洞法。开洞后过24h调查堵洞情况,灭鼠前开洞后24h被鼢鼠推土堵洞为灭前有效洞,灭鼠后被鼢鼠堵洞为灭后堵洞数。
灭鼠率计算公式为: M=(Y-d)/Y×100(M为灭鼠率,Y为灭前有效洞,d为灭后堵洞数)
2 结果
3BH-10型捕鼠器具有较高的灵敏度,在大面积应用3BH-10型捕鼠器时,须经常给中轴、中梁内加润滑油,弹簧使用过久出现失灵时,及时更换弹簧,以保证捕鼠器的灵敏度,从而达到及时控制鼠害的目的。
3 配套使用技术
3.1科学确定有鼠洞
根据中华鼢鼠的堵洞习性,观察到地面上有明显的新土堆或拉苗等痕迹时,在其周围寻找鼠洞,并将洞挖开,过数小时后观察洞口是否堵住,如洞口被鼢鼠用土堵住,即为有效洞。
3.2正确安放捕鼠器
将有鼠洞再次挖开,洞口截面要与洞道垂直,用40cm长的细木棍探鼠洞方向成直线时方可安箭。否则,还需往后挖,直到鼠洞距洞口30cm左右成直线时为止。如洞道上部土层太厚时,将土适当铲薄,试箭子扎到洞底为宜。
3.3准确截洞巧取鼠
用3BH-10型捕鼠器捕杀鼢鼠时,当箭扎在致命部位,在短时间内即可死亡;当箭扎在非致命部位时,拔箭后鼠即可返回老窝。因此,取鼠移动捕鼠器时,要先把鼠洞(至三箭后)截断,然后再挖鼠拔箭。
参考文献:张志海,周运宁. 3BH—10型捕鼠器防治中华鼢鼠研究[J]. 山西农业科学, 1999(3):88-91.

